SIRD-802 Radar Level Meter for Corrosive Liquids

雷达液位计常用于非接触式连续液位测量。SIRD-802 雷达液位传感器配备杆状天线(PTFE材质)。它尤其适用于腐蚀性液体的液位测量,在化工厂常见的小型容器中具有显著优势,例如石油储罐、化学品储罐等。

SIRD-802 腐蚀性液体雷达液位传感器的特点

  • 发射波长短
  • 穿透力强
  • 集成先进的回波捕获信号处理技术
  • 易于穿透泡沫、粉尘
  • 伪回波处理技术
  • 微波信号的传输不受大气影响,因此能够满足工艺过程中挥发性气体、高温、高压、蒸汽、真空和高粉尘等恶劣环境的要求。
  • 本产品适用于高温、高压、真空、蒸汽、高粉尘和挥发性气体等恶劣环境,可连续测量不同物料的液位。

SIRD-802 腐蚀性液体雷达液位传感器的技术规格

适用介质:液体,尤其适用于强腐蚀性液体
应用:压力液位测量;
污水液位测量;
挥发性酸碱液位测量
防爆认证:Exia IIC T6 Ga/Exd IIC T6 Gb
测量范围:20m
天线:杆状天线(聚四氟乙烯)
频率:6 GHz
工作温度:-40~130℃(标准型)/-40~180℃(高温型)
测量精度:±10mm
过程压力:(-0.1~1.6)MPa
信号输出:(4~20)mA/HART
现场显示:四屏可编程液晶显示屏
电源:两线制 (DC24V)
四线制 (DC24V/AC220V)
重复性:± 1mm
外壳:铝合金单腔/铝合金双腔/塑料/不锈钢单腔
过程连接:法兰

延伸阅读:GWR高温高压液位传感器

SIRD-802 腐蚀性液体雷达液位传感器的应用

这款 6GHz 雷达液位传感器适用于液体、膏状物、颗粒和块状物料的液位测量,并可进行非接触式测量。它能够应对温度和压力的变化,并适用于惰性气体和挥发性物质的测量环境。

该传感器采用微波脉冲测量方式,可在工业频段范围内正常工作。其光束能量低,可安装在各种金属、非金属容器或管道上,对人体和环境无害。

  • 发电厂:煤堆、原煤仓、燃料仓、储罐、废气净化罐、料仓泵、灰渣储存罐等。
  • 油田:原油或成品油储罐、三相分离器、沉淀池、污水池(水池)、钻井泥浆罐等。
  • 石油化工:蒸馏塔、浓缩罐、液化气罐、氨罐、汽包、炼油厂油库、沥青罐等。
  • 化学工业:蒸馏塔、原料及中间料仓、反应罐、氨罐、有毒液体罐、固体料仓、分离器等。
  • 冶金:矿石料仓、矿石破碎机、原料料仓、辅助料仓、高炉、氧化铝粉料仓、电解槽缓冲罐等。
  • 水泥:石料料仓、生料料仓、水泥料仓、煤粉料仓、矿渣储存料仓等。
  • 水及水处理:水库、污水池、水处理池、沉淀池、消化塔等。
  • 造纸业:原料仓库、储料塔、干燥滚筒等。
  • 其他行业:食品、医药、环保、造船等。

您可能感兴趣:废水流量测量

延伸阅读:雷达液位传感器 | 腐蚀性、蒸汽、挥发性液体

雷达液位计快速安装指南

罐体安装

标准安装

  • 雷达天线不能倾斜到罐壁上。
  • 为尽量减少温度影响,对接法兰连接处必须使用弹簧垫圈。
  • 杆状天线的发射点必须延伸到安装管道的末端。
  • 杆状天线波束方向应垂直放置,切勿使其指向罐壁。
Tank installation

安装说明

  • 推荐位置 (2),即安装管道的罐壁外侧,应满足以下要求:管道与罐壁的最佳距离为罐体直径的 1/4 或 1/6,最小距离为测量范围的 1/10。
  • 例如:储罐液位为 10 米,管道与罐壁的最小安装距离为 1 米。
  • 不得安装在进料口 (4) 上方。
  • 不得安装在中心位置 (3),如果安装在中心位置,会产生多个虚假回波,杂波回波会导致真实信号丢失。
  • 如果无法保持仪器与罐壁之间的距离,介质会粘附在罐壁上,导致虚假回波,调试仪器时应将虚假回波存储起来。
Installation instructions
  • 顶部为锥形罐液位,可安装在罐顶中间位置,以确保测量至锥形罐底部。
Installation instructions 2

储罐安装说明

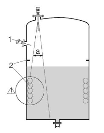
  • 在信号光束范围内,应避免安装以下设备:例如:(1)限位开关、温度传感器
  • 对称装置,例如:(2)真空环、加热线圈、挡板等。
  • 如果储罐内有(1)和(2)干扰物,则应使用导波管进行测量。
Tank  installation instructions

如何校准 雷达液位变送器

设置 导波雷达液位变送器

HART 通讯器、电源和万用表如下图所示(参见下方校准设置图)

检查低量程值(0% 液位,4 mA)和高量程值(100% 液位,20 mA)的配置。
确保输入数据与数据手册一致。
例如,低量程值为 10 英寸,高量程值为 35 英寸(均从液位变送器探头底部测量)。

向液位变送器腔室中注水至 0% 液位。
读取变送器液晶显示屏(或 HART 通讯器)上的 液位测量 值。通过 HART 通讯器将此条件设置为 0% 液位。

使用万用表读取变送器的 mA 输出。
(如有必要)通过 HART 通讯器 调整变送器输出(在万用表上显示)为 4 mA。

向液位变送器腔室注水至 100% 液位。
读取变送器液晶显示屏(或 HART 通讯器)上的液位读数。通过 HART 通讯器 将此条件设置为 100% 液位。

使用万用表读取变送器的 mA 输出。
(如有必要)通过 HART 通讯器 调整变送器输出(在万用表上显示)为 20 mA。

扩展阅读:雷达非接触式水位传感器

极短的、能量极低的微波脉冲通过天线系统发射和接收。雷达波以光速传播。电子元件将工作时间转换为液位信号。特殊的延时技术确保在极短时间内实现稳定、精确的测量。

Radar Level Meter Working Principle

电磁波在空气中以光速传播。雷达液位计与物料表面之间的距离可以用以下公式表示:

D = (1/2)*CT

公式中:

D ———雷达液位计 与物料表面之间的距离; 

C ———光速;

T ———脉冲时间。

液位计算公式为:  L = E-D

公式中:

L ———液位;

E ———罐体总高度;

D ———空气高度。

即使存在虚假反射,新型微处理技术和独特的 ECHOFOX 软件也能精确分析液位回波。通过输入容器尺寸,可以将距离值转换为与液位成正比的信号。该仪器支持空载调试。

扩展阅读:落料天线雷达液位传感器

26g 雷达液位计

雷达液位计采用高达 26GHz 的发射频率,相比 6GHz 雷达具有以下优势:

  1. 高频雷达液位计(主要为 26GHz)能量高、波束角小。通常,直径为 Φ95mm 的喇叭天线的波束角为 8º。而 6GHz 低频脉冲雷达的喇叭天线直径为 Φ246mm 时,波束角仅为 15º。其优势在于天线尺寸小、精度高。
  2. 26GHz 雷达的波长为 11mm,而 6GHz 雷达的波长为 50mm。当雷达测量散装物料的液位时,雷达波反射主要来自物料表面的漫反射。漫反射强度与物料尺寸成正比,与波长成反比。大多数散装物料的直线段长度远小于 50mm。因此,26GHz 雷达是散装物料液位测量的最佳选择。
  3. 在一些直径小、高度低的小型储罐应用中,当罐内介质或强腐蚀性介质含有挥发性气体时,超声波测量效果较差,而雷达效果较好。6GHz雷达天线长度(300-400mm)较短,盲区较大(约600mm),且由于6GHz雷达方向性较差(张角较大),在小型储罐内容易发生多径反射。26GHz雷达频率较高,天线较短,方向性好,克服了6GHz雷达的缺点,适用于小型储罐测量。
  4. 由于现场环境恶劣,灰尘和水汽会随着时间的推移积聚在雷达天线上。26GHz雷达天线较小,加装天线罩可以显著改善灰尘和水汽的影响。6GHz雷达频率较低,天线尺寸较大,加装天线罩后难以安装,导致仪器整体体积较大,清洁起来也比较困难。
  5. 由于26GHz雷达具有良好的指向性,只需将雷达置于容器外部,即可在许多恶劣的工作环境下进行测量。
  6. 采用先进的微处理器和独特的EchoDiscovery回波处理技术,雷达液位计可应用于各种复杂的工作环境。
  7. 采用脉冲工作模式,雷达液位计的发射功率极低,可安装在各种金属和非金属容器中,对人体和环境无害。

延伸阅读:雷达油罐液位传感器

特色腐蚀性液体液位测量设备

延伸阅读:FMCW 雷达液位变送器 120GHz

Sino-Inst 提供10余种用于腐蚀性液体液位测量的 雷达液位传感器。其中约 50% 为雷达液位计,40% 为罐式液位传感器。

我们提供多种用于腐蚀性液体的 雷达液位传感器,包括免费样品和付费样品。

Sino-Inst 是一家全球知名的雷达液位测量仪器供应商和制造商,总部位于中国。